
Clip pour poutres en I
Le clip ZS assure la fixation des entretoises entre les poutres en I dans une configuration plancher.
| Produit | Dispo | Prix TTC | |
|---|---|---|---|
Caractéristiques
Déclarations de performance : FR-DoP-e17/0554
Agréments techniques : ETA-17/0554
Matière
- Acier galvanisé DX51D + Z275 suivant NF EN 10346,
- Épaisseur : 0,9 mm.
Données techniques
Valeurs Caractéristiques
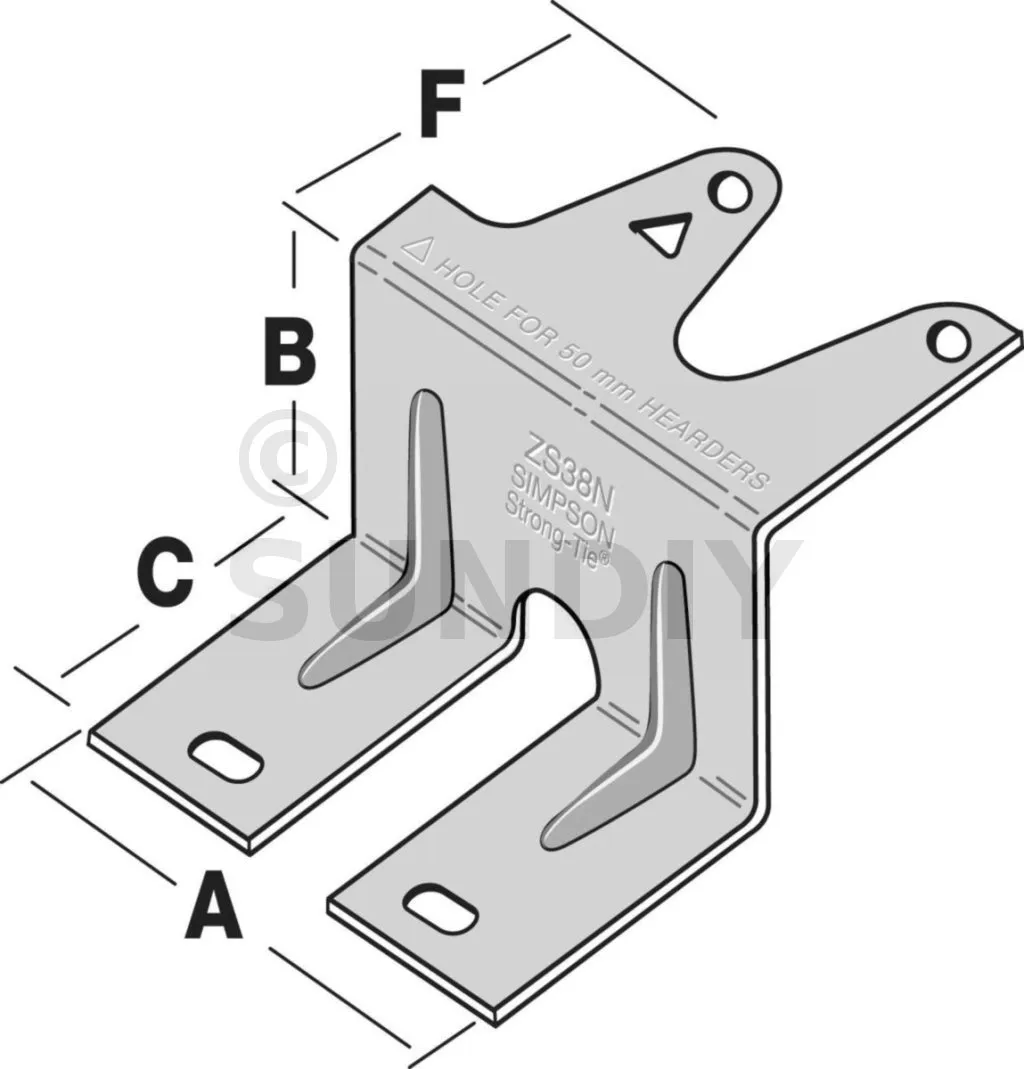
| Références | Dimensions [mm] | Fixations | Valeurs Caractéristiques [kN] | |||||
|---|---|---|---|---|---|---|---|---|
| A | B | C | F | Ep. | Bois C24 | Poutre en I | ||
| ZS38N | 52 | 38 | 46 | 31 | 0.9 | 4 ø3.75x30 | 3.6 | 3.8 |
| ZS45N | 52 | 45 | 39 | 31 | 0.9 | 4 ø3.75x30 | 3.6 | 3.8 |
SIMPSON Strong-Tie
Une fiabilité et un service sans équivalent
Depuis son implantation en Europe en 1994, la société Simpson Strong-Tie est devenue une valeur sûre en matière de connecteurs grâce à un savoir-faire reconnu et une qualité de produits testés. Forte de ses années d’expériences, elle fait de la sécurité, de la fiabilité et du respect des règlementations en vigueur un engagement permanent.
Fixation
- Pointes torsadées Ø 3,75x30 (utiliser toutes les pointes spécifiées dans le tableau).
Installation
1. Fixer la patte horizontale inférieure des clips ZS sous la membrure haute des entretoises de poutres en I, à l’aide de pointes torsadées N3.75x30.
2. Positionner les entretoises entre les poutres en I du solivage.
3. Fixer les clips par-dessus la membrure haute des poutres en I du solivage à l’aide de pointes torsadées N3.75x30.
Avantages
- Le clip ZS permet l’utilisation des chutes de poutres en I en tant qu’entretoises, réduisant ainsi le gaspillage et les coûts.
- Fixation robuste et durable : Assure une connexion solide entre les éléments structurels, garantissant la stabilité et la longévité des constructions.
- Installation facile et rapide : Conçu pour être installé rapidement, il simplifie le travail des professionnels et réduit le temps passé sur le chantier.
Applications
Support
Les clips ZS sont conçus pour une utilisation polyvalente dans divers contextes de construction, assurant des fixations fiables et robustes.
- Porteur : Bois massif, bois composite, bois lamellé-collé, ...
- Porté : poutre en I, LVL, PSL, LSL, ...
Domaines d’utilisation
- Fixation de solives : Assurez la solidité de vos structures de plancher avec des fixations robustes.
- Chevêtres : Facilitez l’installation de chevêtres avec une connexion stable et durable.
- Entretoises : Garantissez une distribution uniforme des charges grâce à une fixation efficace des entretoises.
- Poutres en I : Optimisez l’assemblage de poutres en I pour des structures fiables.
- Plancher : Renforcez vos configurations de plancher avec des clips ZS pour une stabilité accrue.



















